artemdragunov

— постов 2906. 38 место в топе

Блогер artemdragunov - Гость из Будущего

 
Начну с того, что скажу парадоксальное. Почти каждый рулевой, любого уровня, выше среднего - не идиот. Разумеется - рулевой, а не шестёрка. Иногда кажется что идиот, если делает идиотские поступки или выглядит так, но поверьте - рулить крупным, тем более долго - идиот не сможет. Вот мимикр ...
14-09-2014топ 100 блогов artemdragunov
Развернуть
 
Мы - биомашины. Сложные, продвинутые. Наша задача - думать, мыслить, рождать информацию. Информация создаёт эфир, эфир сублимируется в энергию и материю. Материя даёт нам возможность жить, а значит - думать, мыслить, рождать информацию. Это круг мироздания. Наше тело - сложный набор девайс ...
14-09-2014топ 100 блогов artemdragunov
Развернуть
 
Переход от двуполярного или триполярного мира к многополярному - расколол паритет и нарушил главный принцип существовавший со дня окончания второй мировой. Начинается парад суверенитетов, на фоне подбирающегося к нам глобального экономического пиздеца. Референдум в Шотландии естественно вы ...
12-09-2014топ 100 блогов artemdragunov
Развернуть
 
Снится что я был в Италии, два раза. Подробности не помню, помню только автобус немного, отели, переезды и т.д... Потом вдруг я на берегу моря, у себя на малой родинке, а там пещера, прямо в трёх метрах от моря, в скалах, а внутри - моя квартира и огромный телевизор, а я всё боюсь что зато ...
11-09-2014топ 100 блогов artemdragunov
Развернуть
 
Друзья заслали ссылки в личку. Почитал. Вывод. Опять наши рулевые слажали.... Амеры сбили наш спутник. Лазером. Я знаю наверняка. Сначала они сбивали ракеты, беспилотники в Неваде и Арканзасе. Потом на море при плохой погоде посбивали миномётные снаряды и ракеты. У них получилось. Заяви ...
12-09-2014топ 100 блогов artemdragunov
Развернуть
 
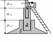
Разрабатываю концепт модульных, легковозводимых, недорогих, железобетонных конструкций. Идеально как защитная стена, укрепление и т.д. Состоит из трёх или в облегчённой версии - из двух базовых элементов - опорного, несущего, контрольного. ( вспоминаем Лего). Опорный элемент ( 1) - это ж ...
11-09-2014топ 100 блогов artemdragunov
Развернуть
 
В условиях нынешнего времени блокировать ЖЖ - это саботаж против страны, народа и мира. Поэтому надо деблокировать.  Нурсултан Абишевич. Пожалуйста. Вот тут предложение ЖЖ-ешным админам по поводу блокировки ЖЖ в Казахстане. ...
05-09-2014топ 100 блогов artemdragunov
Развернуть
 
Начались вбросы и разговоры о целесообразности свободного обращения валюты на территории России. Поступают предложения запретить её обращение внутри страны, свободную продажу или покупку и сбережения в ней. Предлагается продавать её только при выезде за рубеж и т.д. Эту меру могут проллоби ...
03-09-2014топ 100 блогов artemdragunov
Развернуть
 
Для начала мысли по ситуации и интуитивное, инсайд и т.д... НАТО готовит план по вводу миротворцев, согласно которому возможно и Россия введёт своих миротворцев в подконтрольные зоны конфликтов. В данный момент идёт торг по будущим границам раздела влияния. Т.е. по сути готовится раздел н ...
31-08-2014топ 100 блогов artemdragunov
Развернуть
 
Иду смотреть Лэнд Круизер в один салон, он весь жёлтый и я думаю что и тачка такая будет, но она серебристая. Я посмотрел, уже иду в кассу, недорого, всего полтысячи, а меня отталкивает Максим Покровский. Я его спрашиваю - ты музыкант? Он говорит нет. А продавец, очкарик такой на Малахова ...
30-08-2014топ 100 блогов artemdragunov
Развернуть